
您现在所在位置:网站首页>新闻快讯更新时间:2024-11-07
近日,广州一家卤味店的名字“禽始皇”引发了广大市民的高度关注与争议。一些人认为这个名字有冒犯之嫌,而有些人则认为这仅仅是个有创意的店名。“禽始皇”谐音“秦始皇”,该品牌将秦始皇中的“秦”改为“禽”作为品牌使用。

关于这一事件网上众说纷纭:有网友认为,秦始皇是世界上著名的历史人物,岂是后人可以随意亵渎?也有网友认为,只是一个名人谐音的店名而已,没啥大问题。
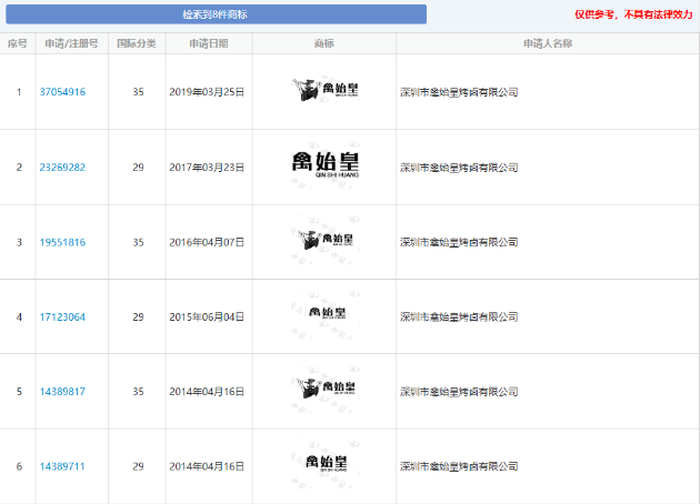
抛开这些争论不谈,相信很多人都会和小编一样产生疑惑,关于历史名人谐音的商标申请会注册成功吗?据查询,深圳市禽始皇烤卤有限公司自2011年就开始申请“禽始皇”图形商标,2014年又申请了多件“禽始皇”、“禽始王”等商标,类别涵盖29类-食品、35类-广告销售以及43类-餐饮住宿等,这些商标都已获准注册。


看来历史名人的相关商标历史名人由于知名度很高,加上文化底蕴较深,因此其名字经常被人抢注成商标。那么历史名人姓名是否可以进行商标注册申请?商标使用范围有什么规范?
按照我国商标法第十条,以下标志不得作为商标使用:
1)同中华人民共和国的国家名称、国旗、国徽、军旗、勋章相同或者近似的,以及同国家机关所在地特定地点的名称或者标志性建筑物的名称、图形相同的。
2)同政府间国际组织的名称、旗帜、徽记相同或者近似的,但经该组织同意或者不易误导公众的除外。
3)与表明实施控制、予以保证的官方标志、检验印记相同或者近似的,但经授权的除外。
4)同“红十字”、“红新月”的名称、标志相同或者近似的。
5)带有民族歧视性的。
6)夸大宣传并带有欺骗性的。
7)有害于社会主义道德。
8)地理标记:商标使用地理标记,县级以上行政区划的地名或者公众知晓的外国地名,不得作为商标。
《商标审查及审理标准》对“其他不良影响”作出了定义:“是指商标的文字、图形或者其他构成要素对我国政治、 经济、文化、宗教、民族等社会公共利益和公共秩序产生消极的、负面的影响。”同时还规定:“与国家、地区或者政治性国际组织领导人姓名相同或者近似的”属于具有政治上的不良影响。
也就是说,只要不带有歧视性或是不良影响,是可以进行商标注册申请的,申请注册成功的可能性会比较大。而可能造成不良影响的“名人”商标,核准的几率就相对较低。
企业若想使用名人相关商标,应该注意避免历史名人的形象与名誉遭到破坏,进而防止产生不良的社会影响。
【温馨提示】文中部分图片及素材来源网络,版权归属原作者,若有不妥,请联系告知修改或删除,谢谢!