
您现在所在位置:网站首页>新闻快讯更新时间:2022-09-13
快手作为曾经短视频领域的“大哥大”,鼎盛时期就连“抖音”也不敢僭越,尽管目前有下滑趋势,但作为市值超2600亿港元的“快手”,依旧拥有不可撼动的地位。但近日快手却被一家小小的家政公司“击败”了,这其中到底有什么隐情呢?

“快手”状告“快手家政”败诉
近日,北京快手科技有限公司与北京快手无忧家政有限公司不正当竞争纠纷案日前一审判决结果公开,法院驳回了快手公司的全部起诉请求。

2020年8月,北京快手无忧家政有限公司核准注册,但尚未进行经营。据快手家政介绍,使用“快手”作为企业字号仅仅是“手快多干活”的意思。而快手家政的出现,引起了快手公司的注意,于是一纸诉状将快手家政告上了法庭。
快手公司称,其享有“快手”在第35、38、41、42等商标类别上的独家使用权,而快手家政公司与自身经营业务存在重合,并且其注册了与自己注册商标相同的企业字号,构成不正当竞争。遂要求快手家政公司立即停止使用“快手”名称,并赔偿15万元。
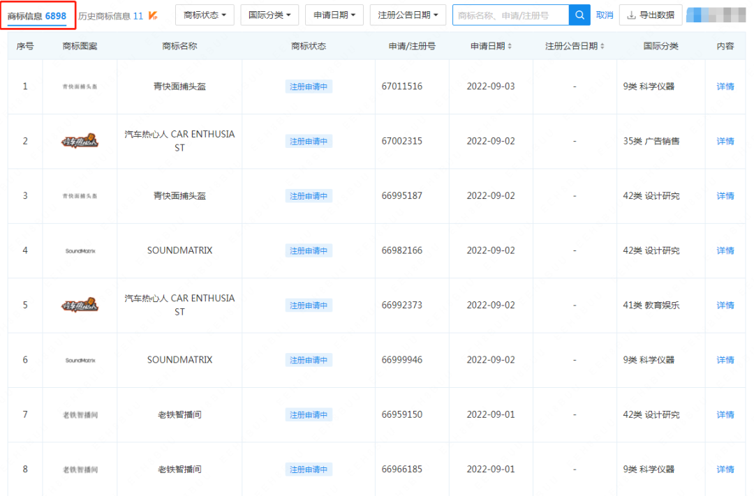
通过查询发现,快手旗下大多商标都是由一家名为“北京达佳互联信息技术有限公司”注册申请的。据了解,该公司是“快手”的信息管理公司,也就是子公司,目前共有6898件商标信息,而这也是快手公司敢于积极维权的重要依仗。

但是法院认为,虽然快手家政的企业名称中包含“快手”字样,但快手公司并没有提交相关证据能证明快手家政存在实际经营行为,特别是在视频平台运营、技术服务等领域的经营;并且也没有证据可以证明快手家政实施了混淆行为。因此,并不构成不正当竞争行为,驳回快手公司所有诉讼请求。
商标重名就是“傍名牌”吗?
“傍名牌”“蹭快车”的行为屡见不鲜,尤其在大品牌、大企业中更为常见。但是商标重名也有很多例外情况。

就比如说咱们熟知的“长城汽车”和“长城葡萄酒”,双方共存多年,也没见谁说谁侵权;再比如多芬(DOVE)洗发水与DOVE(德芙)巧克力,双方英文名称一模一样,同样也不涉及侵权。而这都是商标类别在“作祟”。
重要关键点——商标类别
商标类别是指所要注册商标的所属行业,我国目前采用的是尼斯商品分类,商标注册用商品和服务分类表共分为45类,其中1-34是商品类别,35-45是服务类别。其中每个类别下又分成多个不同的群组。一般来说,如果在某类的某一群组申请了商标,那其他人就不可以在该群组上申请相同或近似的商标,但可以在其他群组或其他类别上申请。

因此对于企业来说,在注册申请商标时,一定要选准类别,至少可以覆盖现有的产品范围,同时以后可能需要的也尽量注册,有条件的企业甚至可以全类别注册商标,不给他人留有“沾边”的余地。如果您对于商标类别的选择还有困惑,可以联系四海龙,为您提供知识产权一站式服务。
【温馨提示】文中部分图片及素材来源网络,版权归属原作者,若有不妥,请联系告知修改或删除,谢谢!