
您现在所在位置:网站首页>新闻快讯更新时间:2022-09-02
要说谁是转型最成功的教育机构,新东方说第二,没人敢说第一。作为曾经的龙头企业,随着双减政策的出台,不得不转型投身于电商行业,而正因为有文人的底子,新东方的带货之路可谓是“一炮而红”。凭借着“双语直播”带货新模式,三个月交易总额便达到了约 20 亿元。而作为同一赛道的猿辅导,也盯上了这块“肥肉”。

猿辅导注册“小猿心选”商标
猿辅导成立于2012年,获得了高瓴资本、腾讯等多家巨头公司的投资,在2019年,猿辅导在线教育公司的估值来到了155亿美元,在全球教育科技独角兽公司中排名首位。旗下拥有猿辅导、小猿搜题、斑马AI课等多款在线教育产品。

近日,猿辅导的关联公司北京猿力教育科技有限公司,申请了多枚“小猿心选”“小猿星选”商标,国际分类涉及办公用品、设计研究、教育娱乐、广告销售等。此消息一经曝出,不免令人多想猿辅导此举太过明显,看到“新东方”在电商领域混的风生水起,“猿辅导”难道也要分一杯羹吗?
完善的商标布局助力企业转型
随着社会大环境的更迭以及疫情的影响,线上教育机构的“日子”越来越不好过了,先是“大哥大”积极寻求转型机会,紧接着各个“小弟”也纷拥而上,所以猿辅导此举并不令人意外,并且接下来相信还会有更多的企业踏上转型之路。
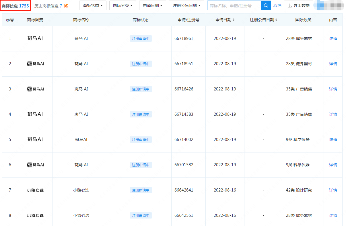
小船掉头易,大船掉头难,企业转型最重要的一点就是要做好相关的知产布局工作。据查询,北京猿力教育公司旗下共有1755件商标信息,其中1179枚商标已经成功拿下,除了核心商标“猿辅导”外,像“斑马系”商标,“小猿系”商标通通都做好了相关的商标布局,由此可见其构建的商标防护河有多么完善。

除了此次新曝光的商标外,之前猿辅导旗下北京冰原服饰有限公司申请的多个“猿服道”商标也已注册成功,国际分类为25类-服装鞋帽、18类-皮革皮具、40类-材料加工。另外,这家公司还在今年 3 月申请注册了多个“天空织造”“天空制造”等商标,再结合“猿辅导正招聘服装设计师”的消息,基本可以断定,成人羽绒服领域将是猿辅导看上了另一块“肥肉”。

市场未动,商标先行。可口可乐CEO达夫特曾说过,“如果可口可乐在世界各地的厂房被一把大火烧光,只要可口可乐的品牌还在,一夜之间它会让所有的厂房在废墟上拔地而起。”这一番话就形象地说明了商标所蕴含的无形而又巨大的价值。
不过在短期利益的驱使下,很多企业总是选择性地忽视商标的保护和战略布局,就如同东方甄选主播姓名被抢注后,才想起来保护,此时面临的风险就将陡然提升。如果您的企业或产品还没有做好相关的商标布局工作,可以联系四海龙,为您提供知识产权一站式综合服务。
【温馨提示】文中部分图片及素材来源网络,版权归属原作者,若有不妥,请联系告知修改或删除,谢谢!