
您现在所在位置:网站首页>新闻快讯更新时间:2021-12-15
近日,“小红书注册老红书商标被驳回”这一词条短时间内飙升至微博热搜第二位,百万点击量让小红书的讨论度居高不下。
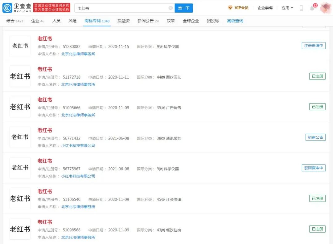
事情的起因还要从今年6月说起。据企查查资料显示,小红书在今年6月注册了两件“老红书”商标,国际分类为9类科学仪器和38类通讯服务。如今,两件商标都已初审公告,第9类上的“老红书”商标状态变为了“驳回复审中”,而第38类商标顺利通过初审。
一时间,“小红书注册老红书商标失败”的消息传得沸沸扬扬。面对一波如此之大的讨论度,小红书自然不能放之不管。在上热搜的当晚,小红书官方便给出了回应,称自己注册商标一事并没有失败。
“老红书”商标为何被驳回?
在企查查APP中搜索“老红书”关键字你会发现,相似商标还真是不少:“红书”“书红”“老红”“红老”“红红有书”……而专门以“老红书”为名的商标就有7件,除了小红书所在企业“小红书科技有限公司”申请的两件“老红书”商标之外,另有一家名为“北京兆法律师事务所”的机构申请了5件“老红书”商标,申请时间均为2020年11月。其中4件商标已经申请成功,唯独和小红书公司申请的两件商标类别撞车的第9类科学仪器类,商标状态为“注册申请中”。
很显然,由于“北京兆法律师事务所”申请第9类“老红书”商标在先,这才导致小红书申请的第9类“老红书”商标遭到了驳回。但这并不意味着小红书在第9类上申请的“老红书”就此失败,小红书官方回应,他们已经为被驳回的第9类“老红书”提交了复审答辩书积极进行答辩,至于结局如何,一切还要等待知识产权局的判决。
小红书为何注册“老红书”商标?
有网友对此事脑洞大开:“是方便等老了以后改名吗?”这一观点自然是在调侃,那么小红书到底为啥注册“老红书”商标呢?
通过企查查资料我们能够看到,小红书科技有限公司现今共注册了836件商标,从2014年最早注册的“小红书 XIAOHONGSHU.COM”商标开始,小红书还注册了不少并未投入使用的商标,除了小红书的花名“小红薯”被其注册为商标之外,还有“小赤书”“小粉书”“小绿书”“小紫书”“小橙书”“小蓝书”“小白书”“小黑书”“小红梳”“小纡书”“红小书”“小红伞”“小红裙”“小红屋”……
这么多的商标,小红书的目的只有一个,就是保护自己最重要的“小红书”商标。小红书官方表示,公司的法务部在日常商标检测过程中发现,有多方试图抢注“老红书”商标,因此才作出防御,补充注册了“老红书”商标,并对他人抢注的“老红书”商标提出了商标异议。
商标的防御性注册向来五花八门,但奈何恶意抢注者众多,依旧是防不胜防,才有了小红书注册“老红书”商标被驳回的事件。这也为各位企业主敲响警钟,企业想要做大做强,防御性商标必不可少。及早进行商标布局,就能让我们的品牌在发展的过程中更有底气,让企业的每一步走得更稳。