
您现在所在位置:网站首页>新闻快讯更新时间:2021-12-15
苹果汽车真的要来了?
苹果汽车项目早在2014年正式启动,代号“泰坦”(Project Titan),不过此前没有曝出过太多实质性进展,因此关注度一直不高。
近日,据媒体报道,科技巨头苹果公司在推进其电动汽车的开发项目上有了重大突破。苹果公司内部计划是在4年内(2025年前)推出自动驾驶汽车,比早先的目标5到7年缩短更多。不过具体时间尚未敲定,要取决于目前的研发重点——自动驾驶系统开发的进程。
由于苹果并没有整车制造的经验和实力,因此将更多注意力放在了外形工业设计、信息娱乐系统和电池技术上,当然还有自动驾驶芯片。据悉,苹果已经完成了搭载在第一代汽车上的芯片处理器的大部分核心工作,在开发汽车的全自动驾驶系统方面达到了一个关键的节点。
苹果的汽车芯片是公司内部开发的最先进组件,主要由神经网络处理器组成,可以处理自动驾驶所需的人工智能。该芯片由苹果内部的硅工程团队设计,团队主要负责为iPhone、iPad和Mac设计处理器。不过这种芯片发热或将比较明显,未来可能还需要开发一个复杂的冷却系统。
苹果汽车定位是全自动驾驶,甚至可能不会配备传统方向盘和踏板。至于其余的造车基本环节将由第三方厂商负责,可能的伙伴包括韩国现代、日本丰田等。
作为苹果汽车有史以来最贵和最大的产品,苹果汽车消息爆出后,股价一度触及157.49美元的历史新高。今年以来,苹果股价已经累计上涨21%,过去12个月累计上涨33%。
虽然一切都在向好发展,苹果汽车却在商标上出现了问题。
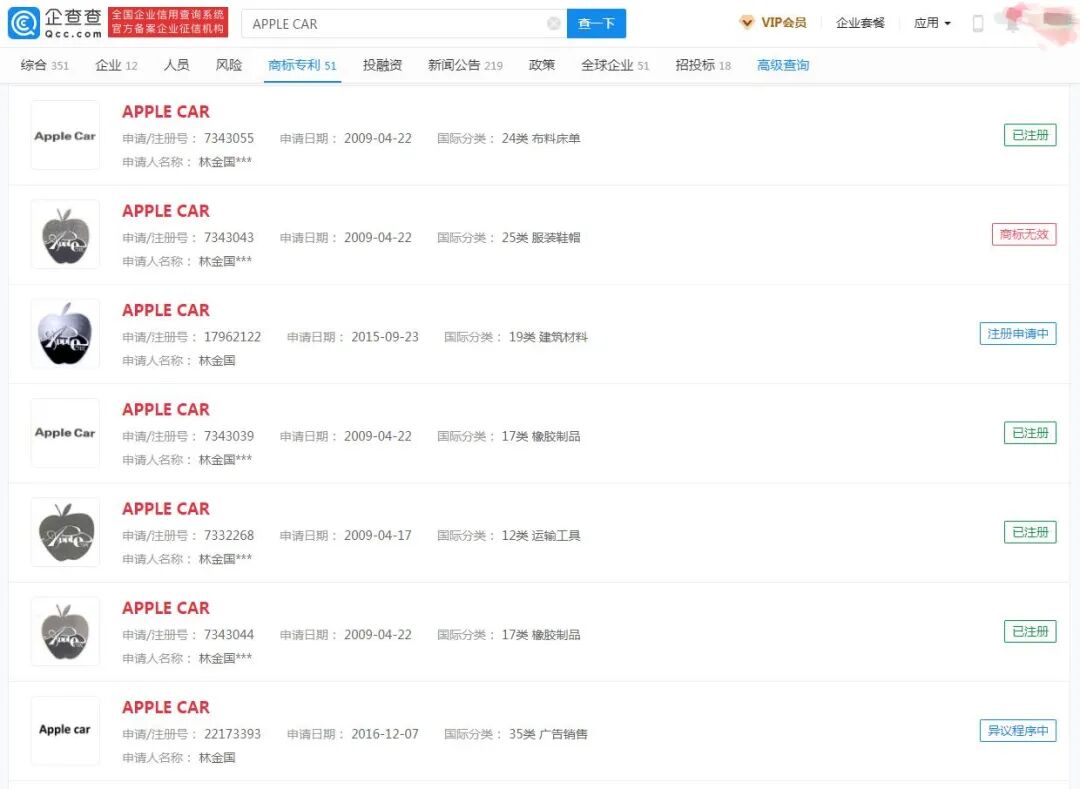
据企查查APP资料显示,“APPLE CAR”相关商标已被多方抢注,国际分类涉及9类科学仪器、12类运输工具、35类广告销售等,申请数量超过30件。这些商标中,最早的“APPLE CAR”商标申请时间为2009年4月,目前仍在正常使用。
此外,第35类“苹果汽车”商标已经在今年6月提交了申请,申请人名称为“泉州刀锋体育用品有限公司”,有抢注嫌疑。
那么“iCar”呢?通过查询我们发现,“iCar”早就被奇瑞汽车申请了。“iCar”作为奇瑞旗下的汽车生态品牌,首款小型纯电动车“QQ冰淇淋”计划于今年下半年上市。早在今年7月,奇瑞就发布一则《关于停止在中国境内使用icar相关标识的告知函》给苹果公司,要求苹果公司停止使用这个标识。看来“iCar”这条路也被堵死了。
不过,苹果汽车离面世仍有较长的一段路程要走,最终命名也不一定按照惯有套路。但苹果汽车商标遭多方抢注一事依旧为我们敲响了警钟,企业在发展过程中,商标注册是必经之路,及早进行商标布局,才能让企业的每一步走得更从容稳健。
你认为苹果首款汽车会叫什么呢?