
您现在所在位置:网站首页>新闻快讯更新时间:2021-12-15
11月19日凌晨,江小白在微博连发100条声明,推介自家产品,此番“狂轰滥炸”引发了众多网友关注。在第一百条声明中,江小白官方微博账号写道:“这是第100条声明,要代表前面99条声明一起感谢大家10年的陪伴,感谢的人都在图里,感谢的话就下一个10年慢慢说给你们听吧。P.S.这真的是最后一条声明了”。此事经过发酵,一度已经登上微博热搜第一。
江小白品牌爆红,纷争自然也多。“江小白”人称网红小白酒,扎心文案配白酒,卖情怀的同时也在卖酒。虽然刚面世没多久就一路爆红,但在商标方面却历经坎坷。之前就有历时七年之久才落下帷幕的江津酒厂与江小白之间的商标大战。引发“江小白”商标之争的,正是7年前江小白创始人陶石泉和重庆江津酒厂的短暂合作。
2012年初,重庆江津酒厂下属江津区糖酒有限责任公司,与四川新蓝图商贸有限公司签订《定制产品销售合同》等协议。新蓝图公司的法人代表正是江小白创始人陶石泉。
2012年底,“江小白”一面市即获得消费者热捧,双方因合作未达成共识,结束短暂的合作。2016年5月,江津酒厂向商标评审委员会提出“江小白”商标无效宣告请求。同年12月,经审查,商标评审委员会作出“江小白”商标无效宣告的裁定。
江小白公司不服,向北京知识产权法院提起行政诉讼,北京市高级人民法院作出终审宣判,驳回了江小白商标诉讼请求。
随后,江小白酒业开始自建江记酒庄,双方因为商标引发争议。最终法院判决江小白商标案胜诉。
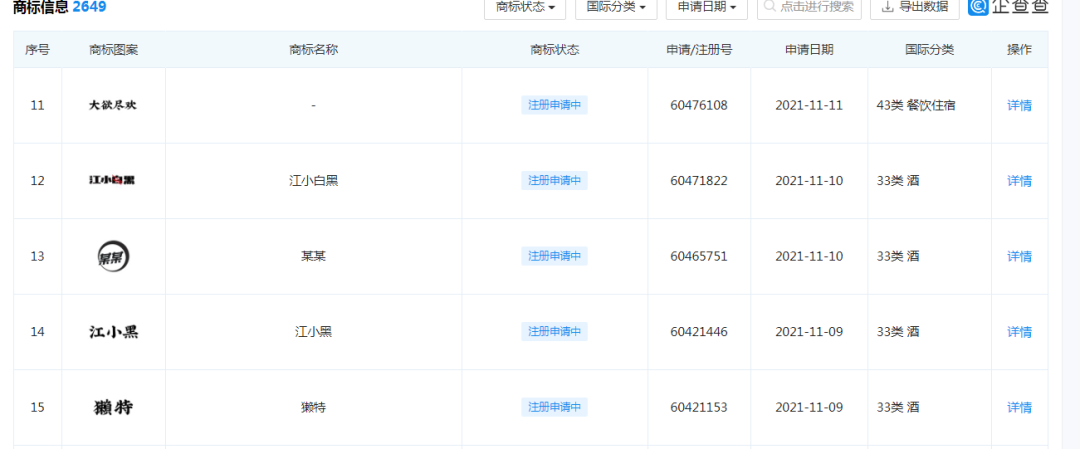
在商标上吃过亏的江小白,如今在知识产权保护方面就相当注重了。根据天眼查显示,该公司申请注册“江小黑”“江小白黑”“某某”“瓶子宇宙”商标,国际分类为酒、通讯服务,当前商标状态均为“商标申请中”。
江小白公司申请注册“江小黑”“瓶子宇宙”商标的行为,在知产行业内可以叫做防御性注册。什么是防御性注册?分两个层面解释,一是在一个类别注册商标后,再在其他类别注册相同的商标,这个其他类别就是企业今后可能要涉足的其他行业,这样就保证了企业商标在不同类别和不同行业的统一性,有利于企业商品参与市场竞争,同时如该商标具有一定知名度时,使用此商标的不同类别的新商品也较容易为消费者所接受。二是注册一个商标后,又把同个商标相近似的文字作为商标注册,是为尽可能地保护这个商标而采取的防御性措施。
防御性注册的措施是企业发展到了一定规模、品牌有足够的知名度后需要的采取的必要措施,这一措施可以为企业今后的经营扩展以及品牌扩张打下了坚实基础,同时又保护了企业的知识产权和商标安全。如今,江小白在商标方面做足商标防御,保护自己的品牌,值得每一个企业借鉴。