
您现在所在位置:网站首页>新闻快讯更新时间:2024-06-24
在科技行业,华为无疑是绕不开的一个名字,有着不俗的地位和成就。不论是在手机市场还是通信市场,华为都占据着一席之地,为中国科技发展做出了不可磨灭的贡献。而近年来,华为更是开始进军汽车领域,这让广大消费者感到了惊讶和期待。

华为再申请问系列商标
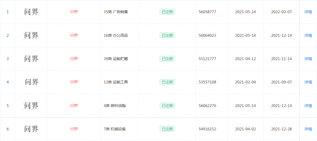
前一段时间,通过查询发现,华为把“问界”商标一网打尽,不仅拿下了“问界”和“AITO”这两个商标,还转让了21个“问界”商标。可见华为在智选车领域十分重视这个品牌,虽然官方一再强调不造车,但他们始终在探索在智能驾驶领域的创新方向。众所周知,华为在通信行业的强大实力,在车联网时代也将十分有利。因此华为重视智选汽车,特别是深耕车内智能化方向,从而提升消费者生活质量。

对于华为来说,问界的商标最终转让至华为,也大有来头。如果问界商标不属于华为,那么其他合作伙伴使用这个品牌就会受阻,一旦合作伙伴增加,就会需要重新命名品牌,再从头到尾进行营销,这成本太大了。因此,从华为智选的品牌定义来看,问界归属华为确实是唯一的选择。
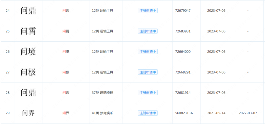
而近日华为在申请问系列商标方面又有了新进展。通过查询发现,华为技术有限公司申请注册多枚“问驰”“问境”“问鼎”“问极”“问霄”商标,国际分类为运输工具、科学仪器、建筑修理,当前商标进度均为申请中。
此前,华为与赛力斯合力打造AITO品牌,首款车型为问界M5,华为也已注册多个“问界”商标。目前,尚不清楚上述“问”系列商标是否与新车型有关。

华为在问系列商标上的注册布局,折射出了华为在智选车领域的思考。实际上,华为未来的目标并不是单纯的造车,而是借助智能化的技术和服务给汽车行业注入更多的活力。无论是在品牌价值的提高还是合作伙伴的扩大方面,华为都在为自己在智选车领域的发展奠定更加坚实的基础。
而这一切的基础无疑就是知识产权布局。作为国内知名的科技企业,无论是专利还是商标,都是华为布局的重中之重,只有在产品上市之前,做好相应的布局,才能有效避免侵权与被侵权的窘境,专心发展自身的品牌。